КР код
Производи
Контактирајте нас


Фак
+86-574-87168065

Е-маил

Адреса
Индустријска зона Луотуо, округ Зхенхаи, град Нингбо, Кина
Ако користите тешке машине – попут ваљаоница челика које избацују метал у целој смени, дизалица које подижу тоне материјала или рударске опреме која се бори против прашине и притиска под земљом – потребна вам је спојница која вас неће изневерити. То је управо оно за шта је Раидафонова СВЦ-БХ стандардна универзална спојница за флексибилно заваривање направљена: поуздан пренос обртног момента, чак и када посао постане тежак.
Прво, хајде да причамо о његовом дизајну. Заварени јарам није само карактеристика - он мења игру. За разлику од јармова са вијцима који се временом могу олабавити, овај је чврсто заварен, тако да нема ризика да се делови олабаве када ваша машина напорно ради. Такође се уклапа у низ подешавања, са пречником окретања од 180 мм до 620 мм – нема потребе да тражите опцију која не одговара ни једној величини. Као стандардна флексибилна универзална спојница, подноси до 15 степени угаоног неусклађености, што значи да ако ваше осовине нису савршено поређане (а будимо реални, ретко јесу), и даље одржава снагу. Чак и када обртни момент достигне 1250 кН·м – озбиљна снага – остаје стабилан, без муцања, без пада.
Нисмо штедели ни на материјалима. Ова ствар је направљена од 35ЦрМо челика - материјала високе чврстоће који је отпоран на хабање, чак и када се удара у руднику или се загрева у близини ваљаонице. Осим тога, стављамо прецизне игличасте лежајеве, тако да се крећу глатко, смањују трење и трају много дуже од јефтинијих спојница. Због тога је оно што се користи за универзалне спојнице за тешке машине - не ради само неколико недеља; држи се около, одржавајући вашу опрему да ради. А ако су вам потребне заварене универзалне спојнице за индустријску примену? То је то — заварени дизајн боље подноси вибрације и напрезање од алтернатива са вијцима, тако да трошите мање времена на поправљање и више времена на рад.
У Раидафону их производимо у Кини, али не губимо на квалитету. Сваки корак је у складу са стандардима ИСО 9001 — проверавамо челик, прегледамо заварене спојеве, тестирамо лежајеве — тако да знате да добијате спојницу која испуњава глобална правила квалитета. А ако је ваше подешавање мало другачије? Радимо прилагођена подешавања—прилагођавамо величину, подешавамо спецификације—шта год да је потребно да би се уклопила. Најбољи део? Не цени се као луксузни део. Добијате издржљиву универзалну спојницу која напорно ради, без плаћања богатства. За све који не могу да приуште застоје, ова СВЦ-БХ спојница је врста поузданог комада који одржава вашу машину у покрету, из дана у дан.
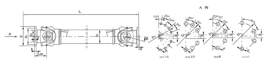
| бр. | Пречник ротације Д мм | Номинални обртни момент Тн КН·м | Угао савијања осе β (°) | Уморни обртни момент Тф КН·м | Величина (мм) | Ротациона инерција кг.м2 | Тежина (кг) | |||||||||||
| Лмин | Д1 (јс11) | Д2 (Х7) | Д3 | Лм | н-д | k | t | b (х9) | g | Лмин | Повећати 100мм | Лмин | Повећати 100мм | |||||
| СВЦ100ВХ | 100 | 1.25 | 0.63 | 25° | 243 | 84 | 57 | 60 | 55 | 6-9 | 7 | 2.5 | - | - | 0.0039 | 0.00019 | 4.5 | 0.35 |
| СВЦ120ВХ | 120 | 2.5 | 1.25 | 25° | 307 | 102 | 75 | 70 | 65 | 8-11 | 8 | 2.5 | - | - | 0.0096 | 0.00044 | 7.7 | 0.55 |
| СВЦ150ВХ | 150 | 5 | 25 | 25° | 350 | 130 | 90 | 89 | 80 | 8-13 | 10 | 3 | - | - | 0.371 | 0.00157 | 18 | 24.5 |
| СВЦ180ВХ | 180 | 12.5 | 6.3 | 25° | 180 | 155 | 105 | 114 | 110 | 8-17 | 17 | 5 | - | - | 0.15 | 0.007 | 48 | 2.8 |
| СВЦ225ВХ | 225 | 40 | 20 | 15° | 520 | 196 | 135 | 152 | 120 | 8-17 | 20 | 5 | 32 | 9 | 0.365 | 0.0234 | 78 | 4.9 |
| СВЦ250ВХ | 250 | 63 | 31.5 | 15° | 620 | 218 | 150 | 168 | 140 | 8-19 | 25 | 6 | 40 | 12.5 | 0.817 | 0.0277 | 124 | 5.3 |
| СВЦ285ВХ | 285 | 90 | 45 | 15° | 720 | 245 | 170 | 194 | 160 | 8-21 | 27 | 7 | 40 | 15 | 1.756 | 0.051 | 185 | 6.3 |
| СВЦ315ВХ | 315 | 125 | 63 | 15° | 805 | 280 | 185 | 219 | 219 | 10-23 | 32 | 8 | 40 | 15 | 2.893 | 0.0795 | 262 | 8 |
| СВЦ350ВХ | 350 | 180 | 90 | 15° | 875 | 310 | 210 | 267 | 194 | 10-23 | 35 | 8 | 50 | 16 | 5.013 | 0.2219 | 374 | 15 |
| СВЦ390ВХ | 390 | 250 | 125 | 15° | 955 | 345 | 235 | 267 | 215 | 10-25 | 40 | 8 | 70 | 18 | 8.406 | 0.2219 | 506 | 15 |
| СВЦ440ВХ | 440 | 355 | 180 | 15° | 1155 | 390 | 255 | 325 | 260 | 16-28 | 42 | 10 | 80 | 20 | 15.79 | 0.4744 | 790 | 21.7 |
| СВЦ490ВХ | 490 | 500 | 250 | 15° | 1205 | 435 | 275 | 325 | 270 | 16-31 | 47 | 12 | 90 | 22.5 | 26.54 | 0.4744 | 1014 | 21.7 |
| СВЦ550ВХ | 550 | 710 | 355 | 15° | 1355 | 492 | 320 | 426 | 325 | 16-31 | 50 | 12 | 100 | 22.5 | 48.32 | 1.357 | 1526 | 34 |
Ако сте уморни од мукотрпних спојница које успоравају ваш рад или се ломе када су вам најпотребније, Раидафонов СВЦ-ВХ Витхоут Флек Велдинг Типе Универсал Цоуплинг мења игру. Препун је погодности које га чине врхунским избором за свакога коме је потребан несметан пренос обртног момента у механичким системима - без збуњујућих корака заваривања, само солидне перформансе које се уклапају директно у ваш радни ток.
Прво, инсталирање ове ствари је много лакше него што мислите. За разлику од заварених спојница које вас приморавају да унесете додатни алат или чекате да се заварени спојеви стегну, СВЦ-ВХ користи дизајн завртњева. Можете га брзо уградити у постојеће подешавање, а када дође време за одржавање? Растављање је лако, тако да ваша индустријска опрема троши мање времена у празном ходу. Зато је то тако сјајна свестрана спојница са универзалним зглобом високог обртног момента – нема главобоље због застоја, само уђите, поправите оно што вам је потребно и вратите се на посао.
Што се тиче издржљивости, направљен је да га издржи. Користимо материјале за тешке услове рада који подносе велика оптерећења и сталне вибрације без померања—савршено за ужурбана индустријска места где се опрема никада не квари. А пошто нема заваривања, не морате да бринете о оним слабим тачкама које се појављују када се завари временом истроше. Ово није спојница коју ће требати заменити сваких неколико месеци; то је поуздана универзална спојница за индустријске машине која се држи около, одржавајући ваше операције стабилним.
Неусклађености? Нема проблема. Осовине никада не остају савршено поређане, посебно у аутомобилским или транспортним системима, али СВЦ-ВХ се носи са угаоним, аксијалним и радијалним одступањима као професионалац. То је врста универзалне спојнице погонске осовине која одржава несметано кретање снаге чак и када поравнање постане неопрезно - без трзаја, без падова, само доследне перформансе.
И да причамо о трошковима. Заваривање додаје додатне трошкове рада и материјала, али ова спојница све то прескаче. Добијате квалитетан производ без прекомерне потрошње, што је велика победа за сваки буџет. Чак и на незгодним местима као што су поморске инсталације, где је корозија стална претња, он се држи као поуздана поморска универзална спојница – отпорна на слану воду, лака за ваш новчаник.
Ако волите обновљиву енергију, ова спојница се такође уклапа. То је чврста универзална спојница за опрему за обновљиву енергију која ефикасно покреће енергију, без икаквог отпада. Осим тога, лаган је, тако да не оптерећује ваш систем – одличан је за одрживо функционисање без жртвовања перформанси.
У Раидафону не продајемо само спојнице – ми правимо оне које одговарају вашим потребама. СВЦ-ВХ је прилагодљив, тако да ради тачно онако како желите. Ако сте знатижељни како то може учинити ваше операције лакшим, само се јавите нашем тиму. Провешћемо вас кроз то, без жаргона - само директно причајте о томе шта ова спојница може да учини за вас.
Раидафонова универзална спојница СВЦ-ВХ без флексибилног типа заваривања ради на основу основног знања механике карданског зглоба—али смо га подесили да би био јачи за индустријске послове. Цела поента? Омогућите глатко кретање обртног момента између две осовине које нису савршено поређане, чак и када су под углом. Као наменски направљена СВЦ спојница карданског вратила, она користи комад у облику крста у средини да задржи стабилан проток ротационе снаге – управо због чега је универзална спојница великог обртног момента тако погодна за тешке радове као што су ваљаонице или машине за подизање.
Хајде да разложимо језгро како то функционише: постоје два рачваста јарма, а повезани су централним крстом (ми га зовемо паук). Ово подешавање омогућава окретање јармова у више праваца - па чак и ако су осовине помакнуте за до 25° (то је његов максимални угао преклапања осе), обртни момент се и даље преноси равномерно. Има и спецификације које то подржавају: пречници ротације се крећу од φ58 до φ620, а подноси номинални обртни момент од 0,15 до 1000 кН·м. Када га користите као универзалну спојницу за тешке услове рада у ваљаоници, овај дизајн значи да се улазна ротација претвара у излазно кретање без проблема – ти зглобни зглобови се сами окрећу како би надокнадили неусклађеност, без прекида.
Шта чини битним део „без флексибилног заваривања“? Заменили смо заварене спојеве за вијчане или стегнуте спојеве. Завари могу бити слабе тачке током времена, али ови причвршћивачи смањују ризик од квара - а такође олакшавају састављање спојнице. Ова индустријска универзална спојница такође има унапређен дизајн главе виљушке који спречава отпуштање вијака, повећавајући његову структурну чврстоћу за 30%-50%. То је велика ствар за захтевна места као што су рудници или градилишта, где делује као издржљива СВЦ спојница универзалне зглобне осовине - издржава под великим оптерећењима без попуштања.
Ефикасност је још једна победа овде: достиже ефикасност преноса до 98,6%. Дизајнирали смо сваки део да смањимо трење и губитак енергије – тако да не чуди што је то ефикасна универзална спојница за пренос велике снаге у индустријским постројењима велике снаге. И ради тихо: обично 30-40 дБ(А). То је захваљујући уравнотеженој ротацији и уграђеном пригушењу вибрација – што га чини универзалном спојницом са ниским нивоом буке за места где бука представља проблем. Осим тога, смањује трошкове енергије, тако да проверава и потребе за универзалним спојницама које штеде енергију.
У системима универзалне спојнице за тешке машине ово је најважније: СВЦ-ВХ равномерно распоређује силе на све своје делове. Ниједан комад не подноси превише напрезања, што значи мање кварова и дужи животни век. У Раидафону, не правимо ову спојницу само да би задовољили спецификације – ми га прилагођавамо да ради за ваш посао, било да се ради о робусној тешкој машини или специјализованим индустријским поставкама. Ако желите да га прилагодите како би ваш систем функционисао глатко или дуже, разговарајте са нашим тимом — ми ћемо вам помоћи да добијете подешавање које одговара управо ономе што вам је потребно.
⭐⭐⭐⭐⭐ Зханг Веи, машински инжењер, Пекинг Индустриал Мацхинери Цо., Лтд.
Већ неколико месеци на нашој производној опреми имамо Раидафонов СВЦ-ВХ Витхоут Флек Велдинг Типе Универсал Цоуплинг, и он је стабилан – посебно када гурамо наше машине да издрже велика оптерећења. Оно што заиста ценим је његову робусну конструкцију: чак и при оним дугим, захтевним сменама где би други делови могли да поклекну, ова спојница омогућава да ствари раде глатко – без насумичних вибрација, без изненадних кварова који би избацили целу линију.
Инсталација је такође била лака. Наш тим није морао да проводи сате смишљајући сложене кораке; брзо смо га монтирали и од тада нисмо морали да га подешавамо. За опрему за тешке услове као што је наша, о поузданости и квалитету се не може преговарати, а ова спојница потврђује оба поља. Раидафон је доказао да је партнер на којег можемо да рачунамо - ми смо заиста задовољни како се овај производ држи.
⭐⭐⭐⭐⭐ Џон Смит, директор фабрике, Флорида Мануфацтуринг, САД
Раидафонов СВЦ-ВХ спојницу сам ставио у употребу у нашем погону на Флориди пре неколико месеци, и то је било управо оно што нам је требало – једноставно, без проблема и доследно делотворно. Пренос снаге остаје стабилан, што је кључно за одржавање наше производње на ритму, а нисмо морали ни једном да га додирнемо ради одржавања. То је велика победа за нас; мање времена за поправљање делова значи више времена за обављање посла.
Чак и када покрећемо машине тешко, под великим стресом, ова спојница се не трга – само наставља да иде. Инсталација је такође била једноставна; наши техничари су га брзо поставили. А када упарите те перформансе са разумном ценом? То је солидна вредност. Поред тога, Раидафонова корисничка подршка је била врхунска када смо имали кратко питање - брзо су нам се јавили. Нема сумње да ћемо наставити да користимо њихове производе.
⭐⭐⭐⭐⭐ Роберто Силва, оперативни директор, Сао Пауло Енгинееринг Солутионс, Бразил
Већ неко време смо у партнерству са Раидафон-ом, али њихова спојница СВЦ-ВХ Витхоут Флек се заиста истакла у нашим операцијама – доказано је да вреди изнова и изнова. Прво што приметите је његова чврста конструкција; чини се да је направљен да траје, а то се преводи у поуздане перформансе на нашој машини.
Пре него што смо прешли на ову спојницу, суочавали смо се са честим застојима због проблема са неусклађеношћу и прераним хабањем наших старих делова. Сада? Ти проблеми су нестали. То је знатно смањило наше застоје, што је био велики подстицај за продуктивност. А инсталација? Супер лако — наш тим није губио време на решавање проблема са подешавањем. За сваку компанију којој су потребни делови за пренос снаге у које могу да верују, ово је безначајно. Апсолутно бих га препоручио.
⭐⭐⭐⭐⭐ Петер Муллер, технички супервизор, Стуттгарт Мануфацтуринг ГмбХ, Немачка
Користимо Раидафонову СВЦ-ВХ спојницу у нашем производном погону у Штутгарту више од шест месеци, и била је беспрекорна – озбиљно, ни један проблем све време. Његов дизајн је једноставан, што чини инсталацију једноставном; наш тим га је поставио и спремио за рад у кратком року, без компликованих корака или посебних алата.
Оно што ме заиста импресионира је квалитет. Заваривање је чисто и снажно, а материјали су висококвалитетни - можете рећи да нису секли углове. Савршено се држи под редовном употребом, не показује знакове хабања чак и након месеци непрекидног рада. Више смо него задовољни како овај производ функционише и већ је на нашој листи за будуће пројекте.
Адреса
Индустријска зона Луотуо, округ Зхенхаи, град Нингбо, Кина
Тел
Е-маил


+86-574-87168065


Индустријска зона Луотуо, округ Зхенхаи, град Нингбо, Кина
Ауторско право © Раидафон Тецхнологи Гроуп Цо., Лимитед Сва права задржана.
Links | Sitemap | RSS | XML | Политика приватности |
