КР код
Производи
Контактирајте нас


Фак
+86-574-87168065

Е-маил

Адреса
Индустријска зона Луотуо, округ Зхенхаи, град Нингбо, Кина
Раидафонова СВЦ-БХ стандардна универзална спојница за флексибилно заваривање је пројектована посебно за пренос обртног момента у тешким условима у захтевним сценаријима тешких машина—мислите на ваљаонице, дизалице и рударску опрему која ради под сталним високим стресом.
Долази са завареним јармом као кључном карактеристиком дизајна, а његови пречници окретања обухватају практичан опсег: од 180 мм па све до 620 мм. Оно што га издваја за тешке послове је његова способност да се носи са угаоним неусклађеностима до 15 степени, плус може да поднесе оптерећење обртног момента до 1250 кН·м — оба су кључна за одржавање стабилних операција чак и у тешким радним условима.
Квалитет израде је фокусиран на издржљивост: спојница користи челик високе чврстоће 35ЦрМо за дуготрајну жилавост, упарен са прецизним игличастим лежајевима како би се обезбедиле глатке, поуздане перформансе током времена. Ово га чини избором за две кључне потребе: универзалне спојнице скројене за тешке машине и заварене универзалне спојнице погодне за индустријске примене.
Раидафон производи ову спојницу у Кини, а сва производња прати стандарде ИСО 9001 како би се гарантовао константан квалитет. Поврх тога, нуди прилагођене опције које одговарају специфичним захтевима—све по ценама које остају конкурентне за предузећа која траже и поузданост и вредност.
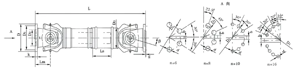
| бр. | Пречник ротације Д мм | Номинални обртни момент Тн КН·м | Угао савијања осе β (°) | Уморни обртни момент Тф КН·м | Флек куантити Лс мм | Величина (мм) | Ротациона инерција кг.м2 | Тежина (кг) | |||||||||||
| Лмин | Д1 (јс11) | Д2 (Х7) | Д3 | Лм | н-д | k | t | б (х9) | g | Лмин | Повећати 100мм | Лмин | Повећати 100мм | ||||||
| СВЦ58БХ | 58 | 0.15 | 0.075 | ≤22 | 35 | 325 | 47 | 30 | 38 | 35 | 4-5 | 3.5 | 1.5 | - | - | - | - | 2.2 | - |
| СВЦ65БХ | 65 | 0.25 | 0.125 | ≤22 | 40 | 360 | 52 | 35 | 42 | 46 | 4-6 | 4.5 | 1.7 | - | - | - | - | 3 | - |
| СВЦ75БХ | 75 | 0.5 | 0.25 | ≤22 | 40 | 395 | 62 | 42 | 50 | 58 | 6-6 | 5.5 | 2 | - | - | - | - | 5 | - |
| СВЦ90БХ | 90 | 1 | 0.5 | ≤22 | 45 | 435 | 74.5 | 47 | 54 | 58 | 4-8 | 6 | 2.5 | - | - | - | - | 6.6 | - |
| СВЦ100БХ | 100 | 1.5 | 0.75 | ≤25 | 55 | 390 | 84 | 57 | 60 | 58 | 6-9 | 7 | 2.5 | - | - | 0.0044 | 0.00019 | 6.1 | 0.35 |
| СВЦ120БХ | 120 | 2.5 | 1.25 | ≤25 | 80 | 485 | 102 | 75 | 70 | 68 | 8-11 | 8 | 2.5 | - | - | 0.0109 | 0.00044 | 10.8 | 0.55 |
| СВЦ150БХ | 150 | 5 | 2.5 | ≤25 | 80 | 590 | 13 | 90 | 89 | 80 | 8-13 | 10 | 3 | - | - | 0.0423 | 0.00157 | 24.5 | 0.85 |
| СВЦ160БХ | 160 | 10 | 5 | ≤25 | 80 | 660 | 137 | 100 | 95 | 110 | 8-17 | 15 | 3 | 20 | 12 | 0.145 | 0.006 | 68 | 1.72 |
| СВЦ180БХ | 180 | 20 | 10 | ≤25 | 100 | 810 | 155 | 105 | 114 | 130 | 8-17 | 17 | 5 | 24 | 14 | 0.175 | 0.007 | 70 | 2.8 |
| СВЦ200БХ | 200 | 32 | 16 | ≤15 | 110 | 860 | 170 | 120 | 127 | 135 | 8-17 | 19 | 5 | 28 | 16 | 0.31 | 0.013 | 86 | 3.6 |
| СВЦ225БХ | 225 | 40 | 20 | ≤15 | 140 | 920 | 196 | 135 | 152 | 120 | 8-17 | 20 | 5 | 32 | 9 | 0.538 | 0.0234 | 122 | 4.9 |
| СВЦ250БХ | 250 | 63 | 31.5 | ≤15 | 140 | 1035 | 218 | 150 | 168 | 140 | 8-19 | 25 | 6 | 40 | 12.5 | 0.966 | 0.0277 | 172 | 5.3 |
| СВЦ285БХ | 285 | 90 | 45 | ≤15 | 140 | 1190 | 245 | 170 | 194 | 160 | 8-21 | 27 | 7 | 40 | 15 | 2.011 | 0.051 | 263 | 6.3 |
| СВЦ315БХ | 315 | 125 | 63 | ≤15 | 140 | 1315 | 280 | 185 | 219 | 180 | 10-23 | 32 | 8 | 40 | 15 | 3.605 | 0.0795 | 382 | 8 |
| СВЦ350БХ | 350 | 180 | 90 | ≤15 | 150 | 1410 | 310 | 210 | 267 | 194 | 10-23 | 35 | 8 | 50 | 16 | 7.053 | 0.2219 | 582 | 15 |
| СВЦ390БХ | 390 | 250 | 125 | ≤15 | 170 | 1590 | 345 | 235 | 267 | 215 | 10-25 | 40 | 8 | 70 | 18 | 12.164 | 0.2219 | 738 | 15 |
| СВЦ440БХ | 440 | 355 | 180 | ≤15 | 190 | 1875 | 390 | 255 | 325 | 260 | 16-28 | 42 | 10 | 80 | 20 | 21.42 | 0.4744 | 1190 | 21.7 |
| СВЦ490БХ | 490 | 500 | 250 | ≤15 | 190 | 1985 | 435 | 275 | 325 | 270 | 16-31 | 47 | 12 | 90 | 22.5 | 32.86 | 0.4744 | 1452 | 21.7 |
| СВЦ550БХ | 550 | 710 | 355 | ≤15 | 240 | 2300 | 492 | 320 | 426 | 305 | 16-31 | 50 | 12 | 100 | 22.5 | 68.92 | 1.357 | 2380 | 34 |
Када говоримо о индустријској опреми за тешке услове рада која поуздано одржава струју, СВЦ универзална спојница (често се назива универзална спојница карданског вратила СВЦ) је део о којем се не може преговарати. Тешко ћете радити у поставкама као што су ваљаонице, машине за дизање и све врсте тешких машинских система – места где сечење углова на преносу снаге једноставно није опција.
Његов главни посао? Повежите две осовине преноса које се не поклапају савршено (неподударне осе) и уверите се да се снага наставља без проблема, чак и када су услови рада тешки. Без муцања, без прекида—само сталан пренос када је то најважније.
Хајде да разложимо његове кључне спецификације које омогућавају ове перформансе:
Пречник ротације: У распону од φ58 до φ620, покривајући широк распон индустријских потреба. Номинални обртни момент: Ручице од 0,15 кН·м до 1000 кН·м—довољно мишића за чак и захтеве високог обртног момента. Угао преклапања осовине: Може да поднесе углове до 25° за савршену функцију, без савршеног опоравка. поравнати.
Где се највише истиче? Размислите о операцијама ваљаонице – где делује као поуздана универзална спојница за тешке услове рада која издржава под интензивним притиском млина. Или у опреми за дизање и руковање материјалом, где као издржљива СВЦ универзална спојница вратила, одржава ствари стабилним чак и када су оптерећења велика. То не функционише само – одржава операције стабилним када постане тешко.
СВЦ спојница са универзалним зглобом није само спојена – она је пројектована од темеља да издржи у индустријским окружењима, са карактеристикама које повећавају и перформансе и дуговечност. Хајде да пажљиво погледамо шта чини његову структуру тако добром.
Паметан, сигуран дизајн
У његовој сржи је интегрисани дизајн главе виљушке - овде нема одвојених делова који се држе заједно вијцима. Ово је важно јер смањује ризик од отпуштања или пуцања вијака, што је уобичајена главобоља код других подешавања. У ствари, овај дизајн повећава структурну чврстоћу за 30% до 50% у поређењу са старијим стиловима. За свакога ко се ослања на универзалну спојницу тешке машине, то значи мање кварова када ствари постану интензивне. То је врста робусне универзалне спојнице која ради глатко, чак и у окружењима са високим стресом у којима други делови могу да покваре.
Направљен да носи терет
Ово није ваш просечан конектор. СВЦ универзална спојница за тешке услове рада је направљена да поднесе озбиљну тежину—мислите на рударску опрему, грађевинске машине и друге тешке ударце. Када вам је потребна чврста универзална спојница која се неће повући под притиском, ово је оно које пружа. Не ради се само о величини; ради се о материјалима и инжењерингу који раде заједно како би преузели тежину без брзог трошења.
Ефикасно покреће снагу
Да ли сте се икада запитали где одлази сва енергија у великим индустријским постројењима? Овде се не губи много. Ова универзална спојница високог обртног момента достиже нивое ефикасности до 98,6%, што значи мање изгубљене енергије као топлоте или трења. За операције које желе да смање трошкове, то је велика победа. То је врста ефикасне универзалне спојнице која чини разлику у великим системима за пренос енергије, делујући као поуздана универзална спојница која држи рачуне за енергију под контролом.
Тихо и постојано
Гласне машине могу бити прави проблем, посебно у просторима где је бука битна. СВЦ универзална спојница одржава ствари мирним, са нивоима буке обично између 30-40 дБ(А)—тише од нормалног разговора. То га чини одличном универзалном спојницом са ниским нивоом буке за окружења у којима је смањење звука кључно, без жртвовања поузданости која вам је потребна. Било да се налази у фабрици или у радионици за прецизност, ова универзална спојница која глатко ради обавља посао без рекета.
СВЦ-БХ стандардна флексибилна универзална спојница за заваривање није само још један део – то је радни коњ направљен да ефикасно покреће снагу, чак и када су машине под великим стресом. Хајде да разјаснимо где заиста сија.
Узмите, на пример, тешке машине и грађевинску опрему. Када имате посла са екстремним оптерећењима и сталним вибрацијама - помислите на багере или булдожере - ова спојница се не повлачи. Његов заварени дизајн додаје додатну чврстоћу, тако да надмашује слабије опције које би могле попуцати или се истрошити од свих тих покрета. То је врста универзалне спојнице високог обртног момента која одржава проток снаге, без обзира на то колико је посао тежак.
У фабрикама, посебно на транспортним линијама и монтажним системима, прецизност је важна. Ова универзална спојница индустријске класе управља угловима и померама у поравнању без прескакања, одржавајући брзине стабилне. То значи мање времена за отклањање кварова и више времена за одржавање производње на правом путу. Инжењерима се допада јер се прилагођава аксијалним, радијалним и угаоним неусклађеностима — малим помацима који могу да одбаце друге делове.
У аутомобилској индустрији и транспорту, погонским вратилима је потребно нешто поуздано да би несметано преносили снагу. СВЦ-БХ се тачно уклапа, било да је у камионима, возовима или другим возилима. Његов дизајн флексибилног заваривања олакшава постављање у постојеће поставке, руковање великим брзинама без резања углова због сигурности. То је универзална спојница погонског вратила за одржавање ствари у покрету.
Рад на мору и на мору је тежак за опрему — слану воду, сурово време, непредвидљива оптерећења. Ова спрега има своје и овде. Као бродска универзална спојница отпорна на корозију, издржава слану спреју и узбуркано море, одржавајући бродске моторе и помоћне машине у раду. Нема кварова повезаних са рђом, нема неочекиваних искључења.
Поставкама обновљиве енергије као што су ветротурбине и соларни трагачи потребни су делови који не троше енергију. СВЦ-БХ напредује као универзална спојница за обновљиву енергију, преноси снагу са једва икаквим зазором. Испуњава глобалне стандарде квалитета, па било да се налази у ветропарку у Европи или соларној електрани у Азији, испоручује.
У Раидафону не продајемо само ове спојнице – ми их кројимо. Потребна вам је одређена величина, материјал или капацитет обртног момента? Наш тим подешава СВЦ-БХ како би одговарао вашим потребама. Обратите нам се и ми ћемо вам помоћи да максимално искористите свој систем.
Када тражите некога коме верујете у вези са механичким компонентама – посебно стварима попут СВЦ-БХ стандардне универзалне спојнице за флексибилно заваривање – Раидафон није само још једна опција. Ми смо произвођач који живи и дише квалитетом, и то се види у сваком делу који правимо.
Прво, квалитет нам није накнадна мисао. Користимо врхунске инжењерске технике и стављамо сваку појединачну универзалну спојницу – било да је она са високим обртним моментом за тешке машине или индустријски модел за фабричка подешавања – кроз строге провере. Сваки део испуњава стандарде ИСО 9001, а ми их тешко тестирамо: екстремна оптерећења, тешки услови, шта год да ваша индустрија баци на њега. Циљ? Без неочекиваних кварова, мањи ризик за ваше операције и спој који одржава ваш систем у раду.
Затим постоји прилагођавање. Будимо реални - не постоје два иста посла. Можда вам је потребна универзална спојница погонског вратила са специфичним димензијама, или универзална спојница за бродски погон направљена од материјала отпорног на корозију, или чак универзална спојница за обновљиве изворе енергије подешена за прави обртни момент. Не чинимо да се уклапате у део „једна величина за све“. Реците нам шта вам је потребно, а ми ћемо то прилагодити тако да се уклопи директно у ваше постојеће подешавање - било да се ради о аутомобилским, поморским или соларним/ветар системима.
И схватамо да су трошкови такође важни. Не би требало да бирате између доброг споја и фер цене. Оптимизовали смо наш ланац снабдевања и повећали своју производњу тако да можемо да понудимо конкурентне цене чак и за специјализоване делове — попут оне универзалне спојнице за бродски погон или индустријског модела са високим обртним моментом — без смањења квалитета. Ради се о томе да вам дамо вредност која траје, а не само јефтин део који брзо пропада.
Наш тим такође не нестаје када притиснете „наручи“. Од првог позива — када покушавате да откријете која универзална спојница најбоље функционише за вашу опрему за обновљиве изворе енергије или фабричку линију — до подршке након продаје ако имате питања, ми смо ту. Имамо вишегодишње искуство у индустрији, тако да можемо да вас упутимо до правог избора, да вам помогнемо да избегнете застоје и да се уверите да ваша спојница ради управо оно што вам је потребно.
У Раидафону не продајемо само делове – ми градимо партнерства. Желимо да будемо тим коме верујете да би ваше операције напредовале, са универзалним заједничким решењима која раде колико и ви. Ако имате специфичне потребе, обратите се нашим стручњацима већ данас – хајде да разговарамо о томе како можемо да вам помогнемо.
Адреса
Индустријска зона Луотуо, округ Зхенхаи, град Нингбо, Кина
Тел
Е-маил


+86-574-87168065


Индустријска зона Луотуо, округ Зхенхаи, град Нингбо, Кина
Ауторско право © Раидафон Тецхнологи Гроуп Цо., Лимитед Сва права задржана.
Links | Sitemap | RSS | XML | Политика приватности |
